Building Construction

Search documents
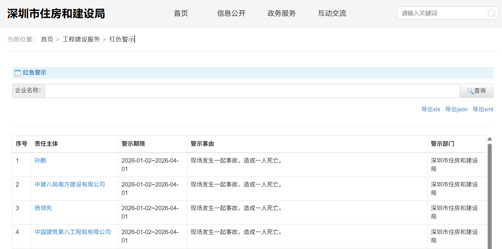
青岛43家建筑企业注册类人员不达标,公示无异议将标注资质异常
Qi Lu Wan Bao Wang· 2025-10-11 07:51
,对核查发现的注册类人员不达标的43家企业资质进行公示。 为切实加强青岛市建筑施工企业资质审批事后监管,进一步规范建筑市场秩序,根据《住房城乡建设部 办公厅关于加强建设工程企业资质动态核查工作的通知》( 建办市〔2024〕52号)和《山东省住房和 城乡建设厅关于进一步加强建设工程企业资质动态核查工作的通知》要求,青岛市住房和城乡建设局将 资质问题投诉、技术负责人重复使用两类情况企业列为重点核查对象,按照"双随机、一公开"标准进行 了资质动态核查。现对核查发现的注册类人员不达标的43家企业资质进行公示,公示期为:2025年10月 9日—2025年10月15日(5天),公示无异议后,将推送至省住房城乡建设厅标注"资质异常"。 | 38 | 青岛云铁康承建设工程有限公司 | 91370202MAEE3EAL53 | 建筑工程施工总承包二级资质 | 市南区 | | --- | --- | --- | --- | --- | | ਤਰੇ | 青岛华晟霍林建筑工程有限公司 | 91370202MAELGLL42H | 建筑工程施工总承包工级资质 | 市南区 | | 40 | 青岛但成餐力建设工程有限公司 | 913702 ...
中建三局多个海南重点项目假期不停工
Hai Nan Ri Bao· 2025-10-08 01:12
海口高新区生物医药产业创新中心项目合同额达5.19亿元,总建筑面积为9.8万平方米,是海口国家 高新区首个"省际飞地"标志性项目,汇集生物医药、智慧医疗服务等产业的一站式创新服务平台。项目 建成后,将推动符合国际规范的高水平、全链条创新药物研发体系建设,推动海口市国家高新区的快速 发展,更好地服务于海南自贸港建设。 包括海口高新区生物医药产业创新中心项目在内,今年国庆中秋假期,中建三局海南公司承建的多 个海南重点项目不停工。 中建三局多个海南重点项目假期不停工 拉满建设热度 刷新项目进度 海南日报讯(海南日报全媒体记者 邵长春 通讯员 周贤卿)10月7日,阳光明媚,由中建三局集团(海 南)有限公司承建的海口高新区生物医药产业创新中心项目现场,300余名工人加紧施工。目前,该项目 8栋楼已全面封顶,正全力冲刺11月底9栋楼主体结构全面封顶节点。 三亚崖州湾科技城海岛空间开发技术创新与成果转化平台建设项目现场,400余名工人奋战不停, 力争在10月9日完成主体结构全面封顶,并全力冲刺年底完成外立面施工目标。该项目位于三亚市崖州 区,是海南自由贸易港封关运作的重要项目之一,总建筑面积6.74万平方米,主要包括2栋南 ...
国庆假期 合肥多个重点工程迎重要进展
Xin Lang Cai Jing· 2025-10-04 01:57
转自:合肥在线 文|合肥在线 吴奇 36 t A 管 日本版 78 H 1 g 153 19: 5 TEND T A BOLL DE STORE CTT 401 1 P 0111111111 110 0 N 合肥未来大科学城片区(二期)庐阳未来创谷 今年国庆假期,一大批建设者坚守在合肥大建设一线,重质量、抢进度、保节点。多个省市级重点工程 项目马不停蹄推进,掀起施工热潮,迎来重要进展。 高品质教育配套,紫云湖畔添一流未来学院 安徽大学未来学院(新校区)位于肥西县紫云湖西侧,占地面积约1100亩。项目完工后,致力于建设成 为"培养未来创新领军人才,推进双一流建设"的创新型学院。 整个项目分为多个组团分批实施,目前在建的为组团一、组团三,包含5栋宿舍楼、1栋公共教学楼,总 建筑面积16.8万平方米,是省市重点工程。现阶段,项目的宿舍楼基础结构施工已全部完成,教学楼桩 基工程正有条不紊进行。 "国庆假期,所有管理人员及300多名建筑工人坚守在施工一线,抢工期赶进度,力争高标准高质量地完 成建设任务,确保2027年能够顺利交付使用。"安徽建工三建集团项目技术总工李恒杰介绍。 安徽大学未来学院项目是安徽省重点规划建设的 ...
L&T secures major orders for building & factories business in Bengaluru and Mumbai
MINT· 2025-10-03 07:43
Core Insights - Larsen & Toubro Limited (L&T) has secured major orders for its Buildings & Factories (B&F) business, valued between ₹5,000 to ₹10,000 crore, including a significant IT Park project in Bengaluru and a mixed-use development in Mumbai [1] Group 1: Bengaluru IT Park Project - The Bengaluru project is set to be one of the largest proposed IT Parks, covering 5.9 million square feet, and will be executed on a Lumpsum Turnkey basis in two phases [2] - The project will feature A-grade office spaces designed for a USGBC New Building – Platinum rating for LEED Certification, consisting of six towers with 14 storeys each, including a common basement of three floors [2][3] - The scope of work includes civil structure works, unitized façade glazing, architectural lighting, and various finishes, along with electromechanical services such as fire protection, electrical, HVAC, plumbing, heating, and elevators [3] Group 2: Mumbai Mixed-Use Development - The Mumbai project involves constructing a mixed-use development with a timeline of 45 months, secured from a reputed developer [4]
中建八局、中建科技联合发布模块化“好房子”产品体系
Qi Lu Wan Bao· 2025-09-27 05:40
Core Viewpoint - The modular "Good House" product system was launched by China State Construction Engineering Corporation (CSCEC) and its subsidiary, focusing on meeting public needs and enhancing construction efficiency through advanced modular building technologies [3][5][6]. Group 1: Modular "Good House" Product System - The product system includes modular technologies for steel structures, concrete structures, and steel-concrete composite structures, covering seven major scenarios such as residential buildings, schools, hotels, and hospitals [3][5]. - The system addresses 101 public needs and has developed 35 modular solutions, such as high-wind-resistant windows and polyurethane waterproof systems for bathrooms [6][5]. Group 2: Intelligent Construction Factory - The intelligent construction factory in Jinan can produce a wall in 12 minutes and a modular house in 2 hours, showcasing high efficiency and automation [7][8]. - The factory's automation level is 80%, with a fourfold increase in production efficiency and a fivefold increase in product quality [8][9]. Group 3: Residential Park Experience - The newly established residential park serves as a display platform for various modular housing types, allowing consumers to experience different living scenarios [10][12]. - Consumers can customize their modular houses online, including interior and exterior designs, with the factory manufacturing based on their specifications [12].
JBB BUILDERS公布年度业绩 公司拥有人应占溢利133.1万林吉特 同比扭亏为盈
Zhi Tong Cai Jing· 2025-09-23 09:01
JBB BUILDERS(01903)公布截至2025年6月30日止年度业绩,收益约4.27亿林吉特,同比增长约29.7%; 公司拥有人应占年内溢利133.1万林吉特,同比扭亏为盈;每股基本及摊薄盈利0.27林吉特仙。 公告称,收益大幅增加主要由于2024年以来获授的填海及相关工程、楼宇及基础建设服务新合约所产生 工程量增加,且于截至2025年6月30日止年度内完成更多建造工程;惟此增长部分被以下因素抵销:(i)新 加坡海上运输合约所产生运砂量整体下降;(ii)期内未进行船用油买卖业务;及(iii)若干合约已于截至2024 年6月30日止年度完成,该等合约曾贡献部分年度收益。 ...
北京城建五建设集团连续两日新增被执行信息
Qi Lu Wan Bao· 2025-09-23 02:56
齐鲁晚报·齐鲁壹点记者于中国执行信息公开网了解到,北京城建集团旗下的北京城建五建设集团有限公司(下称"北京城建五建设集团")连续两日新增被 执行信息,立案时间分别为9月16日、9月17日。 国家企业信用信息公示系统显示,北京城建五建设集团有限公司成立于1992年,注册资本30000万元人民币,法定代表人为李舰舰。公司大股东是北京城建 集团有限责任公司,持股比例95%;另一股东为北京城建集团投资有限公司,持股比例5%。 产经新闻爆料电话:0531—85193242 | | 中国执行信息公开网 | | --- | --- | | | 司法为民 司法便民- | | 被执行人 | | | 被执行人姓名/名称: 北京城建五建设集团有限公司 | | | 身份证号码/组织机构代码: 101640752 | | | 执行法院: 北京市顺义区人民法院 | | | 立案时间: 2025年09月17日 | | | 案号: (2025)京0113执9715号 | | | 执行标的: 2026472 | | 据北京城建五建设集团官方微信公众号介绍,公司是以施工总承包为主业,并涉及工程试验检测、机械物资租赁等领域的大型建筑企业。其称,公 ...
MT Højgaard Holding A/S: Enemærke & Petersen to construct new building at Sluseholmen
Globenewswire· 2025-09-19 13:00
MT Højgaard Holding’s business unit Enemærke & Petersen has, through the ByK & TRUST partnership, entered into an agreement to design and construct a new building at Sluseholmen in the South Harbour district in Copenhagen. The agreement covers a turnkey contract with a total value of DKK 263 million with workstreams commencing in September 2025 and expected completion in April 2028. The contract has been entered into with the developer unit of the City of Copenhagen, Byggeri København (ByK), on behalf of th ...
烟台幸福新城配套中学项目满眼“美景安全范儿”
Qi Lu Wan Bao· 2025-09-17 07:44
日前,中建一局在山东烟台渤海边建造的一所集生态美景、安全保护与优质教育环境于一体的初级中学——幸福新城配套 中学项目应运而生,即将全面完工,成为助力烟台教育事业发展的标杆之作。 树木美景构成"天然课堂" 项目以绿植为媒,将自然之美与园林景观巧妙融合,为学生打造了一处可赏、可学、可憩的校园美境。各类绿植在校园内 错落有致地分布,无论是高大的乔木,还是低矮的灌木,都经过精心布局,既保证了校园景观的美观性,又为学生们营造 了舒适的活动空间。 这片充满生机的校园园林景观,不仅是校园里的"颜值担当",更成为了学生成长路上的"天然课堂"。在这里,学生们可以近 距离观察不同植物的生长形态,了解它们的生长周期与生态特性,将课堂上所学的生物知识与实际相结合,感受树木生命 的奇妙与美好,树立环保意识与生态理念。 细微之处尽显安全防护 美景之外,幸福新城配套中学项目更将安全理念贯穿各项细节。 在教学楼内部,项目充分考虑到特殊学生的需求,设有7个"无障碍"陶瓷坐便式"马桶",配套建设了推拉门和安全扶手,为 残疾学生的日常校园生活提供了便利。同时,每个楼梯扶栏上焊有球形状钢球,防范孩子从楼梯护栏下滑造成摔伤。洗手 池石材边角采用U型设 ...
Amid hot data center market, Skanska grows advanced tech unit
Yahoo Finance· 2025-09-16 09:48
This story was originally published on Construction Dive. To receive daily news and insights, subscribe to our free daily Construction Dive newsletter. Dive Brief: As the high-tech and data center markets remain hot for builders, Skanska USA is expanding its advanced technology division, the firm announced Monday. Skanska Advanced Technology will now combine the contractor’s mission-critical infrastructure capabilities — i.e., its data center construction team — with its semiconductor delivery group, acc ...