Workflow
外汇登记管理
icon
Search documents
宏利基金因违反外汇登记管理规定 被外汇局警告并罚款
Zhong Guo Jing Ji Wang· 2025-08-08 07:07
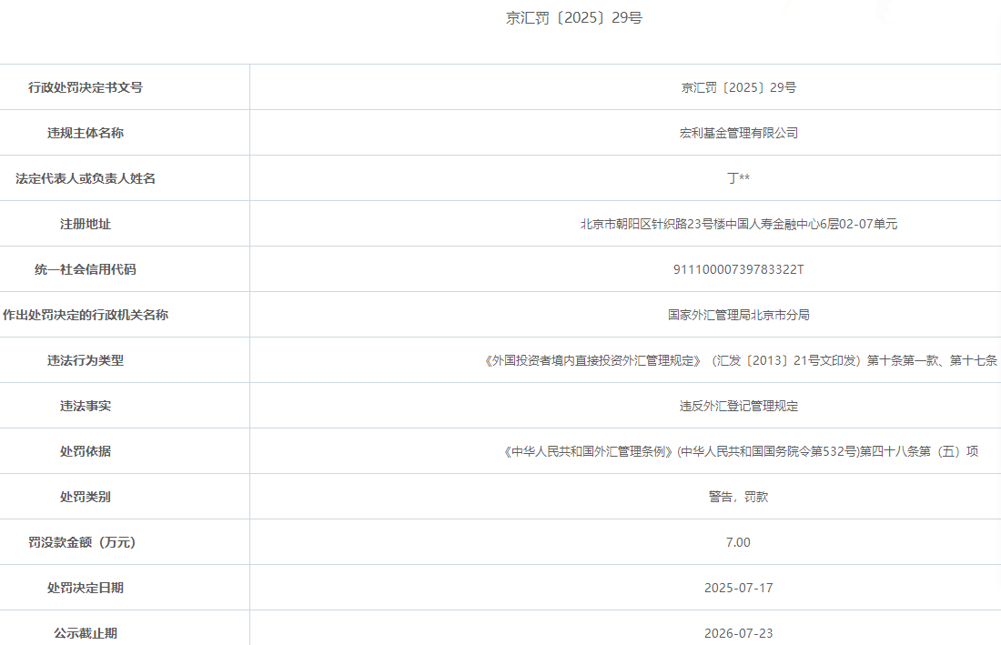
《外国投资者境内直接投资外汇管理规定》第十七条:外国投资者通过新设、并购等方式在境内设立金融机构的,参照本规定办理登记。 以下为原文: | 行政处罚决定书文号 | 京汇罚 〔2025〕29号 | | --- | --- | | 违规主体名称 | 宏利基金管理有限公司 | | 法定代表人或负责人姓名 | 丁** | | 注册地址 | 北京市朝阳区针织路23号楼中国人寿金融中心6层02-07单元 | | 统一社会信用代码 | 91110000739783322T | | 作出处罚决定的行政机关名称 | 国家外汇管理局北京市分局 | | 违法行为类型 | 《外国投资者境内直接投资外汇管理规定》 (汇发〔2013〕21号文印发) 第十条第一款、第十七条 | | 违法事实 | 违反外汇登记管理规定 | | 处罚依据 | 《中华人民共和国外汇管理条例》(中华人民共和国国务院令第532号)第四十八条第(五)项 | | 处罚类别 | 警告,罚款 | | 罚没款金额(万元) | 7.00 | | 处罚决定日期 | 2025-07-17 | | 公示截止期 | 2026-07-23 | 中国经济网北京7月25日讯 23日,国家外 ...
什么情况?因违反外汇登记管理规定,宏利基金领7万元罚单
Mei Ri Jing Ji Xin Wen· 2025-07-28 05:23
今日,宏利基金在给《每日经济新闻》记者的回复中表示,该行政处罚涉及的事件发生在5年前(宏利基金转为 外资独资基金公司之前)。宏利基金一直和监管保持沟通,目前已经妥善解决。 有基金律师分析,对于基金管理公司等涉及跨境资本运作的机构,此案例是一个重要的合规警示,"建议同业机 构将外汇登记嵌入重大变更的核心流程节点"。 受到外汇行政处罚,宏利基金最新回复 近日,国家外汇管理局公布了一则对宏利基金的外汇行政处罚,显示该公司因违反外汇登记管理规定,受到了 来自国家外汇管理局北京市分局的行政处罚。 《每日经济新闻》记者获悉,近日国家外汇管理局公布了一则对宏利基金的外汇行政处罚,显示因后者违反外 汇登记管理规定,对该公司进行警告、罚款,罚没款金额7万元。 对此,宏利基金在回复中表示,该行政处罚涉及的事件发生在5年前(宏利基金转为外资独资基金公司之前)。 宏利基金一直和监管保持沟通,目前已经妥善解决。后续,宏利投资会一如既往地在中国投资和运营,推进在中国 的业务。 律师:外汇登记绝非可有可无的形式要求,而是法定前置程序 盈科律师事务所高级合伙人贺俊对记者分析称,本次国家外汇管理局北京市分局对宏利基金处以警告并罚款7万 元,核 ...
这家基金公司,被处罚
Zhong Guo Ji Jin Bao· 2025-07-25 11:31
【导读】宏利基金因违反外汇登记管理规定被罚7万元 近日,国家外汇管理局北京市分局公布的一则行政处罚决定书显示,宏利基金管理有限公司(以下简称宏利基 金)因违反外汇管理规定,被警告、罚款,罚没款金额7万元,处罚决定日期为2025年7月17日。 | 行政处罚决定书文号 | 京汇罚〔2025〕29号 | | --- | --- | | 违规主体名称 | 宏利基金管理有限公司 | | 法定代表人或负责人姓名 | 丁** | | 注册地址 | 北京市朝阳区针织路23号楼中国人寿金融中心6层02-07单元 | | 统一社会信用代码 | 91110000739783322T | | 作出处罚决定的行政机关名称 | 国家外汇管理局北京市分局 | | 违法行为类型 | 《外国投资者境内直接投资外汇管理规定》 (汇发〔2013〕21号文印发) 第十条第一款、第十七条 | | 违法事实 | 违反外汇登记管理规定 | | 处罚依据 | 《中华人民共和国外汇管理条例》(中华人民共和国国务院令第532号)第四十八条第(五)项 | | 处罚类别 | 警告,罚款 | | 罚没款金额(万元) | 7.00 | | 处罚决定日期 | 2025- ...