企业股权结构

Search documents
宗馥莉,危险
Hu Xiu· 2025-10-11 03:21
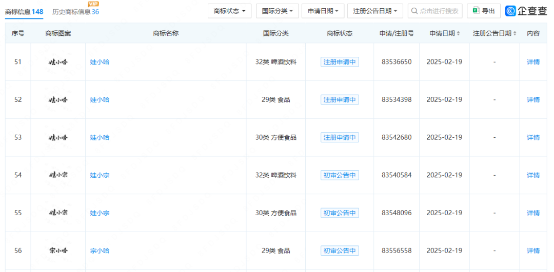
在很多人眼里,娃哈哈姓"宗",是一个不折不扣的家族企业。 对于今时今日的宗家继承人宗馥莉而言,尽管家族内部麻烦缠身,但区区一个红色商标"娃哈哈"的使用权,应当在这位女掌舵人的掌控之中。 但随着一桩一桩爆炸式事件的冲击,娃哈哈水面之下的谜团在逐步公开化。人们渐渐意识到,眼下,宗馥莉似乎在有些被动地与"娃哈哈"挥手作别。 9月,一份有关娃哈哈的内部通知流传开来,宣告宗馥莉将从2026年起启用新品牌"娃小宗",替代已有近40年历史的"娃哈哈"。 事实上,类似"娃小宗"的如"娃小哈""宗小哈"等多个商标的酝酿已有多时。这些类似排列组合的文字,早在今年初,就被申请注册在了宗馥莉完全控股的 宏胜饮料集团有限公司旗下。 | 商标信息 148 | 历史商标信息 36 | VIP | | 商标状态 ▼ | 国际分类 ▼ | 申请日期 ~ | 注册公告日期 ~ | Q 点击进行搜索 | 미 응버 | © 企查查 | | --- | --- | --- | --- | --- | --- | --- | --- | --- | --- | --- | | 序号 | 商标图案 | | | | 国际分类 | 商标状态 | 申请/注册号 ...
娃哈哈大股东,不忍了
商业洞察· 2025-07-24 09:27
Core Viewpoint - The ongoing inheritance dispute involving Zong Qinghou has reached a turning point, with the state-owned major shareholder of Wahaha finally intervening, indicating a shift from a family matter to a public interest issue affecting corporate governance [3][5]. Group 1: Major Shareholder's Change of Attitude - The major shareholder of Wahaha, a state-owned entity holding 46% of the shares, has historically remained passive, allowing Zong Qinghou to dominate operations and strategy [7][8]. - Following Zong Qinghou's death, the governance vacuum and intense succession competition have prompted the state-owned shareholder to abandon its previous silence and take action [9][10]. - The recent trademark transfer incident, where 387 trademarks were proposed to be transferred from the state-owned entity to a company controlled by Zong's daughter, signifies a significant shift in the shareholder's strategy [12][14]. Group 2: Financial Performance and Shareholder Returns - Wahaha has shown strong financial performance, with sales exceeding 50 billion annually, and a projected revenue of 70 billion for 2024, reflecting a year-on-year increase of approximately 200 million [17][18]. - Despite the robust revenue, the state-owned shareholder has received minimal dividends, with Wahaha Group's net profit at only 18.71 million, compared to the significantly higher profits of its external companies [19][20]. - The lack of fair dividend distribution has raised questions about the governance and financial arrangements within Wahaha, especially as the state-owned shareholder has not signed preferential agreements with the local government since 2008 [22][23]. Group 3: Complexity of Shareholding Structure - The shareholding structure of Wahaha has become increasingly complex, with the potential for further complications due to ongoing inheritance disputes among Zong's heirs [28][34]. - The historical context of Wahaha's shareholding, including the transition from full state ownership to a mixed structure, has contributed to the current governance challenges [30][31]. - The state-owned shareholder's recent intervention may be aimed at clarifying ownership and restructuring governance to regain control over the increasingly chaotic shareholding landscape [35][36].