软件和信息技术服务业

Search documents
业绩“变脸”,净利润缩水八成!837748被责令整改
Shang Hai Zheng Quan Bao· 2025-09-30 15:04
| 路桥信息 | E | | --- | --- | | 837748 融 北交所 ▼ | | 被指两年财务造假 证监局责令整改 厦门证监局称,路桥信息2023年度、2024年度收入利润核算不符合企业会计准则相关规定,致其2023年、2024年年度报告披露的有关财务信息不真实、不 准确,违反了《中华人民共和国证券法》和《上市公司信息披露管理办法》。 根据《决定书》,路桥信息需要在自收到《决定书》之日起的30日内向厦门证监局提交书面整改方案,60日内完成整改工作。 根据路桥信息同日披露的前期会计差错更正公告,其2024年度调整后净利润降幅达到83.69%,扣非净利润则从1951.6万元锐减至42.5万元。 截至9月30日收盘,路桥信息跌6.55%,报45.93元/股。 9月29日,路桥信息(837748)发布公告称,公司于9月25日收到厦门证监局出具的《关于对厦门路桥信息股份有限公司采取责令改正措施的决定》(下称 《决定书》)。经厦门证监局现场检查发现,公司与财务报表相关的内部控制存在重大缺陷。 路桥信息在公告中同步做出风险提示,上市公司出现"财务会计报告存在重大会计差错或者虚假记载,被中国证监会及其派出机构责 ...
浩瀚深度大宗交易成交20.00万股 成交额480.00万元
Zheng Quan Shi Bao Wang· 2025-09-30 14:49
(文章来源:证券时报网) 两融数据显示,该股最新融资余额为1.03亿元,近5日增加467.85万元,增幅为4.78%。 据天眼查APP显示,北京浩瀚深度信息技术股份有限公司成立于1994年06月28日,注册资本15834.6667 万人民币。(数据宝) 9月30日浩瀚深度大宗交易一览 | 成交量 | 成交金额 | 成交价 | 相对当日收盘 | | | | --- | --- | --- | --- | --- | --- | | (万 | (万元) | 格 | 折溢价(%) | 买方营业部 | 卖方营业部 | | 股) | | (元) | | | | | 20.00 | 480.00 | 24.00 | -1.03 | 长江证券股份有限公司北 | 长江证券股份有限公司北 | | | | | | 京百万庄大街证券营业部 | 京百万庄大街证券营业部 | 浩瀚深度9月30日大宗交易平台出现一笔成交,成交量20.00万股,成交金额480.00万元,大宗交易成交 价为24.00元,相对今日收盘价折价1.03%。该笔交易的买方营业部为长江证券股份有限公司北京百万庄 大街证券营业部,卖方营业部为长江证券股份有限公司北京百万 ...
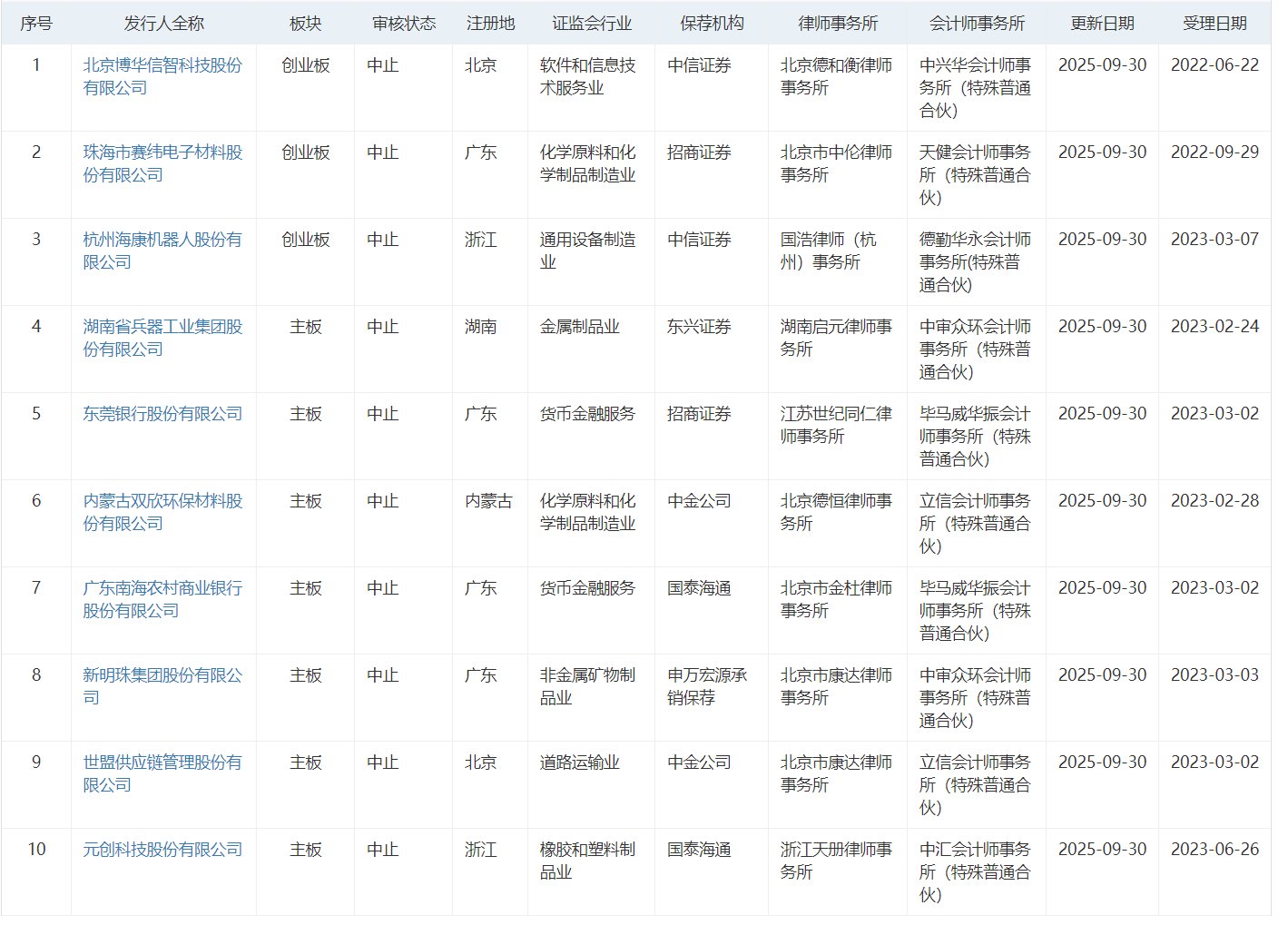
博华科技、珠海赛纬、海康机器等37家企业深交所IPO审核状态变更为“中止”
智通财经网· 2025-09-30 12:53
| | 有限公司 | | | | 洗V | | 海)事务所 | 事务所(特 通合伙) | | --- | --- | --- | --- | --- | --- | --- | --- | --- | | 17 | 益丰新材料股份有限公 | 创业板 | 中止 | 山东 | 化学原料和化 | 中泰证券 | 北京市中伦律师 | 上会会计师 | | | 司 | | | | 学制品制造业 | | 事务所 | 所(特殊音 | | | | | | | | | | 伏) | | 18 | 山东春光科技集团股份 | 创业板 | 中止 | 山东 | 计算机、通信 | 中金公司 | 上海市锦天城律 | 致同会计师 | | | 有限公司 | | | | 和其他电子设 | | 师事务所 | 所(特殊音 | | | | | | | 备制造业 | | | 伏) | | 19 | 广西田园生化股份有限 | 主板 | 中止 | 广西 | 化学原料和化 | 国海证券 | 北京市康达律师 | 大信会计师 | | | 公司 | | | | 学制品制造业 | | 事务所 | 所(特殊音 | | | | | | | | | | 伏) | | 20 | ...
蜂助手(301382.SZ):子公司拟参与竞拍土地使用权
Ge Long Hui A P P· 2025-09-30 10:52
格隆汇9月30日丨蜂助手(301382.SZ)公布,为保障后续云终端算力中心项目的顺利推进,土地购置作为 云终端算力中心项目落地的核心前置条件,董事会已同意授权公司全资子公司广东智慧云算技术有限公 司(简称"广东智慧云算")参与竞拍信宜市砺儒大道旁(集信国控旁)GD2025012号地块的土地使用 权。广东智慧云算为公司100%持股的全资子公司,专注于软件和信息技术服务业,具备承接算力中心 项目前期筹备工作的专业能力。本次土地竞拍网上挂牌起始价为人民币1,256万元,资金来源为公司自 有资金、自筹资金等(具体位置、土地面积和交易金额,以最终实际出让文件为准)。 ...
蜂助手:拟向特定对象增发募资不超过约9.84亿元
Mei Ri Jing Ji Xin Wen· 2025-09-30 10:29
Core Viewpoint - The company announced a plan to issue shares to specific investors, including its controlling shareholder, to raise funds for various projects totaling approximately 984 million yuan [1] Group 1: Share Issuance Details - The share issuance plan was approved by the company's fourth board meeting and the ninth supervisory board meeting [1] - The issuance will involve no more than 35 specific investors, including the controlling shareholder, Mr. Luo Hongpeng [1] - The number of shares to be issued will not exceed 20% of the company's total share capital before the issuance, amounting to approximately 57.12 million shares [1] - The issuance price will be no less than 80% of the average trading price of the company's shares over the 20 trading days prior to the pricing benchmark [1] Group 2: Fundraising Purpose - The company aims to raise funds for three main projects: - Cloud terminal computing center project with a total investment of approximately 548 million yuan [1] - IoT terminal intelligent upgrade project with a total investment of approximately 221 million yuan [1] - Thin terminal SoC chip technology research and development project with a total investment of approximately 214 million yuan [1]
辛巴旗下公司”辛选”收责令限改通知书 未按期申报纳税
Zhong Guo Jing Ji Wang· 2025-09-30 08:25
天眼查工商信息显示,广州辛选网络信息科技有限公司,成立于2020年,位于广东省广州市,是一家以从事软件和信息技术服务业为主的企业。企业 注册资本1500万人民币。 | | | 《责令限期改正通知书》公告送达名单 | | | | | | --- | --- | --- | --- | --- | --- | --- | | 序号 | 纳税人名称 | 社会信用代码(纳税人识别号) | 展屋时期起 | 展屋时期正 | 税中 | 文书号 | | 1050 | 广州辛选网络信息科技有限公司 | 914401******2B7X | 2025年8月1日 | 2025年8月31日 | 消费税 | 穗云税一所 限改 (2025) 157 | 《责令限期改正通知书》公告送达名单显示,广州辛选网络信息科技有限公司位列其中,税种为消费税,所属时期起自2025年8月1日,所属时期止于 2025年8月31日,文书号为穗云税一所限改〔2025〕157312号。 中国经济网北京9月30日讯 国家税务总局广州市白云区税务局关于送达责令限改通知书(催报)的公告(2025年第10期)。根据《中华人民共和国税 收征收管理法实施细则》第一百零六条的 ...
湖南麒麟信安及子公司获1570.96万元政府补助
Xin Lang Cai Jing· 2025-09-30 08:20
近日,湖南麒麟信安科技股份有限公司及控股子公司麒麟信安(广东)科技有限公司收到政府补助款项 合计1,570.96万元,此为与收益相关的政府补助。依据《企业会计准则第 号 - 政府补助》规定,该补助 属与收益相关。不过,上述政府补助未经审计,具体会计处理及对公司2025年度损益的影响,最终以审 计机构年度审计确认结果为准,公司提醒投资者注意投资风险。 ...
品茗科技涨停走出4连板
Mei Ri Jing Ji Xin Wen· 2025-09-30 06:42
(文章来源:每日经济新闻) 每经AI快讯,9月30日,品茗科技涨停走出4连板,4天累计涨幅达107.38%。 ...
采购系统是什么?企业数字化采购入门指南
Sou Hu Cai Jing· 2025-09-30 05:06
说起企业管理啊,采购这块真的不只是买买东西那么简单,它其实是控制成本和管理供应链特别关键的一环。现在市场竞争这么激烈,供应链又变得越来越 复杂,那些还在用手工记账、Excel表格、纸质签字的老办法真的是越来越吃力了。信息不通、流程拖沓、花多少钱都看不清楚这些问题越来越明显。所以 呢,现在好多公司都开始重视采购系统这个数字化神器了,想通过技术改造来让采购变得更智能、更高效。 采购系统到底是什么东西 采购系统嘛,有人叫它企业采购管理系统,也有人称它为供应商关系管理系统(就是SRM),说白了就是一套帮你管理和改进采购流程的软件。它最大的 本事就是把你采购时要做的那些事儿——比如提需求、找供应商、比较价格、签合同、下订单、追踪货物、付款这些环节全都搬到电脑上,让它们自动运转 起来。 有了采购系统,公司就能把原来东一块西一块的采购信息都归拢到一起,这样就不用重复做同样的事,手工出错的概率也小了,做决策时也更有依据了。举 个例子吧,系统里那个智能比价功能,能马上告诉你市场价格怎么变的,帮你挑最划算的方案,这可真能省不少钱呢。 公司为啥要用采购系统 特别是那些规模比较大的公司,采购这事儿往往要好几个部门参与,供应商一大堆, ...
三维天地:截至目前数据资产管理软件和数智化检验检测管理软件在手订单充足,均保持增长态势
Mei Ri Jing Ji Xin Wen· 2025-09-30 01:20
每经AI快讯,有投资者在投资者互动平台提问:今年截至目前,贵司数据资产管理软件订单增长情况 如何? 三维天地(301159.SZ)9月30日在投资者互动平台表示,截至2025年6月30日,公司主营业务在手订单 总计41012.70万元,较去年同期增长23.55%。截至目前,公司数据资产管理软件和数智化检验检测管理 软件在手订单充足,均保持增长态势。 (记者 胡玲) ...