宗小哈

Search documents
宏胜饮料集团今年已申请多枚“娃小宗”商标
Mei Ri Jing Ji Xin Wen· 2025-10-11 01:55
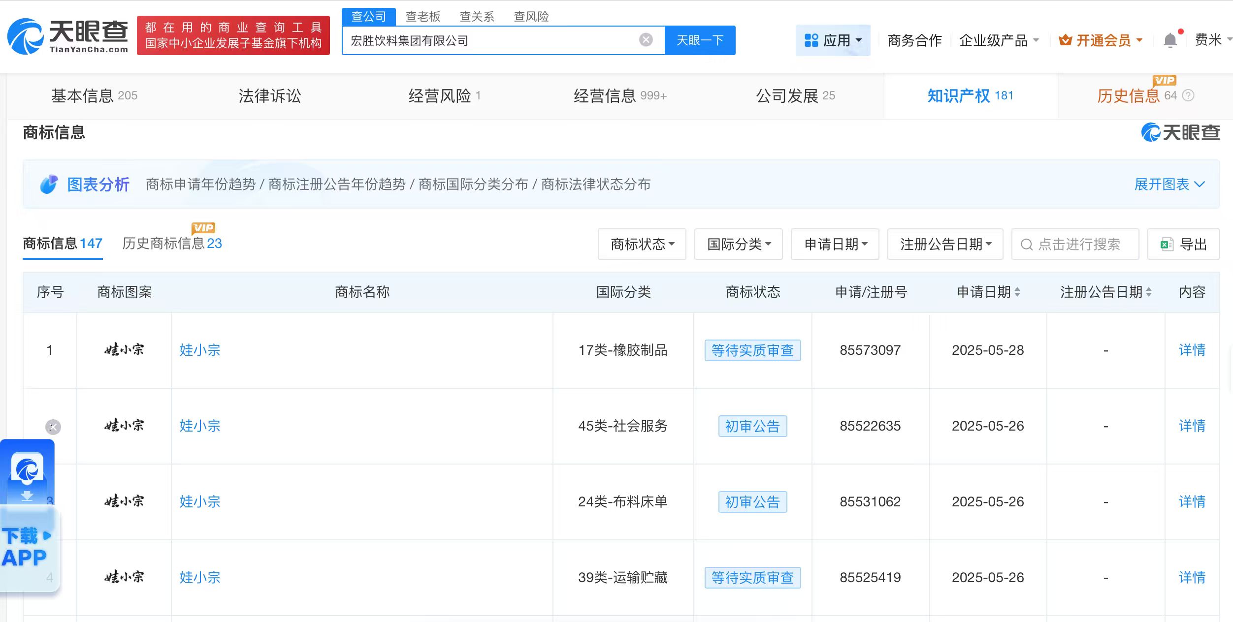
查老板 查公司 查关系 查风 都在用的商业查询工具 娃小宗 国家中小企业发展子基金旗下机构 VIP 公司 老板 风险 招投标 专利 童 求 商标 三高 为您找到 49 条 娃小宗 相关结果 娃小宗 | 等待实质审查 娃小宗 申请/注册号: 85439489 国际分类:日化用品 申请日期: 2025-05-21 申请人名称: ■ 代理人/办理机构: 娃小宗 初审公告 AS = = = 申请/注册号:85442022 国国际分类:建筑材料 申请日期: 2025-05-21 申请人名称: 代理人/办理机构:■ 每经AI快讯,天眼查知识产权信息显示,今年以来,宏胜饮料集团有限公司已申请注册多枚"娃小宗""宗小哈""娃小哈"商标,国际分类涉及食品、啤酒饮 料、广告销售等。其中,多枚"娃小宗""宗小哈"商标状态为初审公告。宏胜饮料集团有限公司成立于2003年10月,法定代表人为祝丽丹,注册资本1025万美 元,经营范围包括食品销售、食品添加剂销售、塑料制品销售等,由恒枫贸易有限公司全资持股,宗馥莉在该公司担任董事。 都在用的商业查询工具 国家中小企业发展子基金旗下机构 查老板 查关系 查风β 查公司 宏胜饮料集团有限公司 ...
宗馥莉要做新品牌?股权纠纷未了局,娃哈哈商标归属再掀争议
凤凰网财经· 2025-05-15 14:21
Core Viewpoint - Wahaha is currently facing significant controversy due to product outsourcing to Jianmailang, trademark transfer issues, and shareholder disputes, which have raised public concern and scrutiny [2][4]. Trademark Dispute - The trademark transfer from "Hangzhou Wahaha Group Co., Ltd." to "Hangzhou Wahaha Food Co., Ltd." is ongoing, with uncertainty surrounding the registration process [2][4]. - The two main stakeholders in the trademark dispute are Zong Fuli and the Shangcheng District Cultural and Tourism Group, with negotiations for the transfer of 46% shares ongoing but without an agreed price [3][4]. - Employees have indicated that the trademark transfer agreement has been deemed terminated by the Hangzhou Intermediate People's Court, affirming that the trademark belongs to the state-controlled Hangzhou Wahaha Group [4][6]. Historical Context - The Wahaha trademark dispute has been a complex issue for nearly thirty years, involving multiple corporate restructuring events and historical disputes with foreign partners [6][8]. - The company was originally fully owned by the Shangcheng District State-owned Assets Supervision and Administration Commission, but underwent changes in ownership structure in 1999, leading to the current shareholder composition [6][7]. - Previous attempts to transfer the trademark to a joint venture with Danone were unsuccessful due to lack of approval from the State Trademark Bureau, resulting in ongoing disputes [6][7]. Future Implications - Zong Fuli's indication of launching a new brand suggests a strategic pivot in response to the trademark challenges, although this may involve significant costs and risks related to consumer perception and distribution networks [8][9]. - The complexity of Wahaha's ownership structure and the historical use of the trademark by various entities complicate any potential transition to new ownership or management [8][9].