Workflow
Qi Cha Cha
icon
Search documents
创业慧康、云上甘肃等成立数康科技公司,含多项AI业务
Qi Cha Cha· 2026-01-09 09:26
Group 1 - The core point of the article is the establishment of Silk Road Shukang Technology (Gansu) Co., Ltd., which focuses on multiple AI-related businesses [1] - The company is co-owned by Yunshang Gansu Technology Co., Ltd. and Chuangye Huikang (300451), indicating a collaboration between these entities in the AI sector [1] - The business scope of the new company includes big data services, software development, and various AI application software developments, highlighting its focus on advanced technology solutions [1]
厦门钨业成立数智切削技术公司,注册资本5亿元
Qi Cha Cha· 2026-01-09 09:26
Group 1 - Xiamen Tungsten Industry has established a new company named Xiamen Jinlu Intelligent Cutting Technology Co., Ltd with a registered capital of 500 million yuan [1] - The new company's business scope includes manufacturing of forgings and powder metallurgy products, non-ferrous metal alloy manufacturing, metal tool manufacturing, mold manufacturing, and new material technology research and development [1] - Xiamen Jinlu Intelligent Cutting Technology Co., Ltd is wholly owned by Xiamen Tungsten's subsidiary, Xiamen Jinlu Special Alloy Co., Ltd [1]
今年起整容要交税了!超5成医美相关企业成立近三年,集中三线城市
Qi Cha Cha· 2026-01-09 06:22
(原标题:今年起整容要交税了!超5成医美相关企业成立近三年,集中三线城市) 企查查数据显示,从经营时间来看,超五成医美相关企业在近三年成立,其中,成立年限在1-3年的相 关企业最多,占比38.27%。其次,成立年限在1年内的相关企业占比20.84%。 据一财报道,《中华人民共和国增值税法》和《中华人民共和国增值税法实施条例》自2026年1月1日起 施行。其中,增值税法在税收优惠一章中,明确了"医疗机构提供的医疗服务"免征增值税。值得注意的 是,营利性美容医疗机构不在增值税法实施条例定义的"医疗机构"范畴内。此外,相关人士介绍,今年 之前增值税相关规定中,并没有将营利性美容医疗机构排除在上述免税政策范围外。而从今年开始,只 要是营利性美容医疗机构,将不再享受上述免征增值税优惠政策。 企查查数据显示,截至1月8日,国内现存医美相关企业18.69万家。随着颜值主义的盛行及"悦己消 费"的风靡,近十年医美迎来快速发展时期,行业规模不断扩大,从相关企业年末存量分布来看,2022 年末医美相关企业存量首次突破十万家,达10.21万家。2025年末全国医美相关企业存量达18.61万家。 从经营时间来看,超5成医美相关企业在 ...
MiniMax公布模型深度思考控制方法专利
Qi Cha Cha· 2026-01-09 06:21
专利摘要显示,本发明涉及人工智能领域,尤其涉及一种模型深度思考的控制方法及装置,该方法包 括:获取至少一个待处理指令,基于空间距离确定各个待处理指令的指令分类结果,并获取各个指令分 类结果对应的深度思考词元输出限制条件;根据深度思考词元输出限制条件,对模型在处理对应待处理 指令时的深度思考环节进行干预,并基于深度思考结果流式输出对应待处理指令的目标输出内容。通过 本申请能够利用不同指令分类结果对应的深度思考词元输出限制条件对不同指令的深度思考环节实现不 同的干预,避免出现深度思考时间过长甚至深度思考陷入循环的情况,提高了模型处理效率,进而提高 用户体验。 企查查APP显示,近日,MiniMax关联公司上海稀宇极智科技有限公司申请公布"一种模型深度思考的 控制方法及装置"专利。 (原标题:MiniMax公布模型深度思考控制方法专利) ...
中国能建等在无锡成立新能源公司,含电池制造业务
Qi Cha Cha· 2026-01-09 06:21
Core Viewpoint - A new renewable energy company, Zhongnengjian Shengchu New Energy (Wuxi) Co., Ltd., has been established, focusing on battery manufacturing and related services [1] Group 1: Company Formation - Zhongnengjian Shengchu New Energy (Wuxi) Co., Ltd. was recently established with a registered capital of 100 million yuan [1] - The legal representative of the new company is Liu Xing [1] Group 2: Business Scope - The company's business scope includes battery sales, sales of new energy vehicle battery swap facilities, charging pile sales, smart control system integration, battery manufacturing, and production of battery components [1] Group 3: Ownership Structure - The company is jointly held by China Energy Construction (601868) wholly-owned subsidiary China Energy Construction Group East China Construction Investment Co., Ltd. and Wuxi Xiyan Lake Ecological Technology City Development and Construction Co., Ltd. [1]
蓝箭航天新专利可提升运载火箭试验仿真对比分析效率
Qi Cha Cha· 2026-01-09 05:41
Core Viewpoint - Blue Arrow Aerospace Technology Co., Ltd. has recently published a patent for a method and system for automatic comparison of simulation tests for the main structure of launch vehicles, significantly improving the efficiency of test and simulation comparison analysis [1] Summary by Sections Patent Details - The patent includes a series of steps for deploying measurement points on a 3D model of the launch vehicle's main structure, processing experimental data, and comparing simulation results with actual test data [1] - The method utilizes various plugin modules for data handling, visualization, and analysis, enhancing the overall workflow in testing and simulation processes [1] Efficiency Improvement - The invention is designed to greatly enhance the efficiency of comparing test data with simulation results, which is crucial for the development and validation of launch vehicle technologies [1]
四川发展航空产投集团增资至40亿
Qi Cha Cha· 2026-01-08 06:30
Group 1 - The core point of the article is that Sichuan Development Aviation Industry Investment Group Co., Ltd. has increased its registered capital from 3 billion RMB to 4 billion RMB [1] - The company was established in 2021 and is wholly owned by Sichuan Development (Holding) Co., Ltd. [1] - The legal representative of the company is Xiong Huiran, and its business scope includes investment activities using self-owned funds and asset management services [1]
寒武纪注册资本增至4.22亿
Qi Cha Cha· 2026-01-08 06:30
企查查APP显示,近日,寒武纪(688256)发生工商变更,注册资本由4.18亿元增至4.22亿元。企查查 信息显示,该公司成立于2016年,法定代表人为陈天石,经营范围包含:计算机系统服务;软件开发; 销售计算机软件及辅助设备等。 (原标题:寒武纪注册资本增至4.22亿) ...
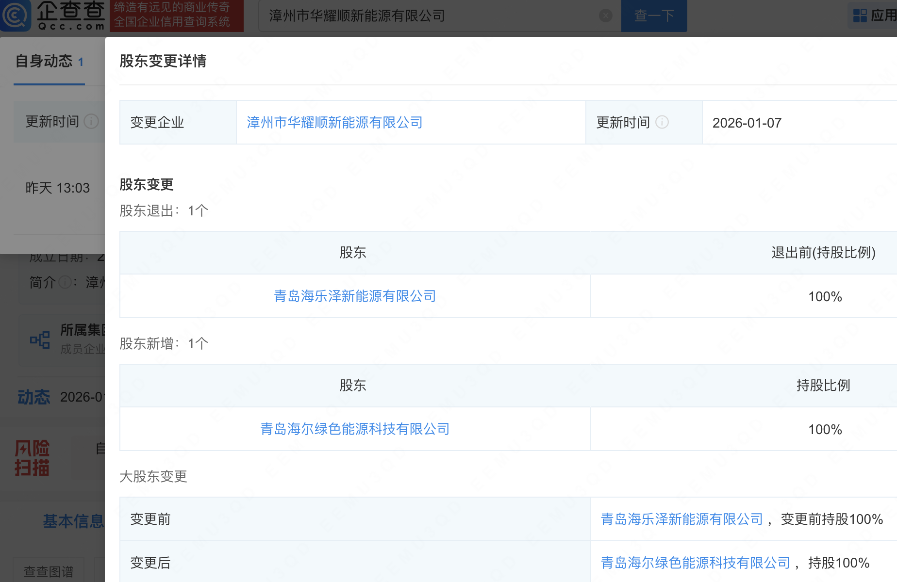
海尔新能源陆续全资收购多家新能源公司
Qi Cha Cha· 2026-01-08 03:13
信自 1万 机构 的 内容 漳州市华耀顺新能源有限公司 e国企业信用查询系统 股东变更详情 自身动态 1 更新时间(i) 变更企业 漳州市华耀顺新能源有限公司 股东变更 昨天 13:03 股东退出: 1个 股东 青岛海乐泽新能源有限公司 股东新增:1个 股东 青岛海尔绿色能源科技有限公司 大股东变更 变更前 变更后 缔造有远见的商业传奇 青岛海尔绿色能源科技有限公司 全国企业信用查询系统 自身动态 113 关联动态 2873 动态等级 动态类型 更新时间(1) 动态内容 被投资企业:漳州 昨天 13:03 利好 新增对外投资 投资比例:100% 训缴出资额: 1007 | 前天 08:40 | 利好 | 新增对外投资 | 被投资企业:四川 投资比例:100% | | --- | --- | --- | --- | | | | | 认缴出资额: 50万 | | 2026-01-01 | 利好 | 新增对外投资 | 被投资企业:徐州 | | | | | 投资比例: 100% | | | | | 认缴出资额:50万 | | 2025-12-27 | 利好 | 新增对外投资 | 被投资企业:云南 | | | | | ...
家电以旧换新1.92亿台,近四成家电回收相关企业分布在华东地区
Qi Cha Cha· 2026-01-08 02:53
Group 1 - The total amount of home appliances to be replaced under the national "old for new" program from 2024 to 2025 is expected to reach 192 million units, with over 90% being first-level energy efficiency (water efficiency) appliances [1] - The categories of replaced appliances include 12 major types such as refrigerators, washing machines, and air conditioners, which are essential household items with high daily usage frequency [1] - The Ministry of Commerce and four other departments announced a notification to improve the recycling system for old appliances and provide subsidies for new digital and smart products until December 31, 2025 [1] Group 2 - As of January 7, there are 6,977 existing companies related to home appliance recycling in China, with over 40% of these companies being established for more than 10 years, accounting for 44.89% [3] - Companies established between 5 to 10 years account for 43.87% of the total [3] - The distribution of home appliance recycling companies is heavily concentrated in the East China region, which accounts for nearly 40% at 39.29% [6] Group 3 - The Central China and North China regions have 16.60% and 12.61% of home appliance recycling companies, respectively [6] - In 2025, a total of 81 new home appliance recycling companies are expected to be registered [6]